John Deere 2030 Hydraulic System Diagram
11 Disc with 1 x 15 Spline hub. By having a solid fix manual you set aside cash as well as will encounter DIY fix your own vehicle.
John Deere 2030 Rear Spool Hydraulic Problems My Tractor Forum
This manual contains information and data to this model.
John deere 2030 hydraulic system diagram. Low Prices Fast Shipping. John Deere 1020 1520 1530 2020 2030 It covers each and every detail of your Tractor. This online parts catalog is robust and easy to use.
If replacing AR39695 or AR90459 you may also need AT49331 R39741 P47908 U13639. This is the COMPLETE Technical Manual for the John Deere 2030 Tractor. Each fix and.
Hydraulic System John Deere 310G Repair Manual Backhoe Loader YouFixThis May 2nd 2018 - Description John Deere Dealer Factory Technical Repair Manual. John deere hydraulic pump location - elapinkwhitede Ford 9n found in. This part is used with R34360 drive pins R38348 coupler halves and.
Joined Jul 25 2010 Messages 28 Location Concordia MO Tractor John Deere 2030 Gas Recently my lift arms went to the full top position and would not come down. Removed rock shaft assembly sets under. 3-POINT HITCH CENTER LINK TELESCOPING DRAFT LINKS.
John deere and its successors are not responsible for the quality or accuracy of this manual. We Can Find Any Manual for you by Request. John Deere 45L 68L Diesel Engine Workshop Manualpdf.
Thread starter Gil A. John Deere Tractor schematic of hydralic system - John Deere 2030. It contains hundreds of pictures and diagrams containing all the information you need to repair and troubleshoot your John Deere tractor.
Our experienced and friendly sales staff are available to help with any of your John Deere 2030 tractor parts and engine parts needs. There are 163 parts used by this model. The type 12 3-point hitch is very reliable.
This manual includes complete information about maintenance detailed diagrams technical specifications special operating instructions repair manuals installation and dismantling calibration data service manuals and other supporting. WJohn Deere Model 46 Loader. John Deere F510 and F525 Residential Front Mowers Repair Manualpdf.
Parts Lookup - Enter a part number or partial description to search for parts within this model. John Deere 2030 Tractor Technical Manual Sample Preview. 2030 tractor this is a manual produced by jensales inc.
Start date Aug 2 2013 Aug 2 2013 1 G. Complete repair service manual with all Electrical Wiring Diagrams for John Deere 2WD or MFWD Utility Tractors Models 2030 with all the service information to maintain diagnose repair rebuild like professional. The pump does the job pushing 135 gpm 511 lpm fluids in the hydraulics system.
John Deere 4420 Service Manualpdf. 1-800-853-2651 available Monday - Friday 700-330pm PST 900-530pm CST 1000-630pm EST. 3-POINT HITCH CENTER LINK.
Brake Shoe Set with lining Electronic Ignition Conversion Kit 12 Volt Negative Ground System Resistor Assembly Ammeter Amp Gauge 30-0-30 Conversion PTO Assembly 1. Searching for your John Deere parts online has never been easier. John Deere 2030 Tractor Service Technical Manual TM1051 TM1051 - John Deere 2030 Tractor Technical ManualPDF.
3-POINT HITCH QUICK COUPLER. Without the authorization of john deere or its successors. The John Deere 2030 has a closed center hydraulics system with a 10 gal 379 L capacity.
Hydraulic Pump Drive Shaft - This drive shaft was original equipment on some of the following John Deere models. Looking at implements the hydraulic system gpm rate comes into play. This is the complete service manual for the John Deere 1830 and 2030 tractor.
It contains deep information about maintaining assembly disassembly and servicing your John Deere 2030 Tractor. Im want to add some loader attached implements other than the bucket. Find parts for your john deere hydraulic oil reservoir associated parts.
7-TERMINAL ELECTRICAL OUTLET SOCKET. Electronic technical manual includes detailed information of repair and maintenance of tractors John Deere 2030. 1 116 Left inlet 78 Top Inlet 1 58 Right Inlet 78 Right Discharge.
They also have hydraulic wet disc brakes. This manual accompanied a complete record. Call our toll-free customer support line today if you have any questions.
This great Service Repair covers all fix techniques A-Z. Ad John Deere Manuals. Technical Manual John Deere 2030 TractorThis manual contains high quality images diagrams instructions to help you to operate maintenance Remove troubleshooting and repair your Tractor.
249 MB Compatible with. John Deere 2030 Tractor TM1051 Technical Manual PDF. 2030 tractor this is a manual produced by jensales inc.
John Deere K Series Air-Cooled Engines Workshop Manualpdf. This is the same manual that the dealer repair shops use. 2030 2440 sn 340999-earlier 2630 2640 sn 340999-earlier 300 300B 302 302A 400 401.
John Deere 425 445 455 Service Repair Manual By Issuu. Measures 4370 inches overall length 14 splines with 2-1316 inch center to center bolt spacing. John Deere Backhoe Hydraulic Diagrams.
PDF360 pages File size. John Deere 6059T Engine Service Repair Manualpdf. Trade marks and trade names contained and used herein are those of others.
This manual valuable in the treatment and fix. 855-669-7278 My Store Ann Arbor Cedar Springs. Hydraulics with our free parts lookup tool.
John Deere 30294039 40456059 6068 Engines Saran -499999CD Service. John Deere 2030 tractor overview. John Deere 2030 Parts Diagrams.
It is a complete catalog that shows you detailed parts diagrams of every part of your machine. Without the authorization of john deere or its successors. It is also worth noting that the live rear PTO runs at 540 rpms.
John Deere Parts Diagrams John Deere 2030 TRACTOR -PC1289. John deere and its successors are not responsible for the quality or accuracy of this manual. Covers All Years and Serial Numbers - Other.
I have a 1972 John Deer 2030. Old fluid needs to be completely flushed-use clean new fluid. Trade marks and trade names contained and used herein are those of others.
Has specs diagrams and actual real photo illustrations color schemes. I have a copy of the service manual and it states the tractor could have one of two main hydraulic pumps. John Deere parts lookup tool and diagram is an incredible online source.
11 Pressure Plate 3 lever 6 Spring 1 12 - 23 spline hub. John Deere AG Lawn Garden and CWP Equipment Parts Search. Ad Order From AgKits Tractor Parts Supertsore Today.
Search easy-to-use diagrams and enjoy same-day shipping on standard John Deere parts orders.
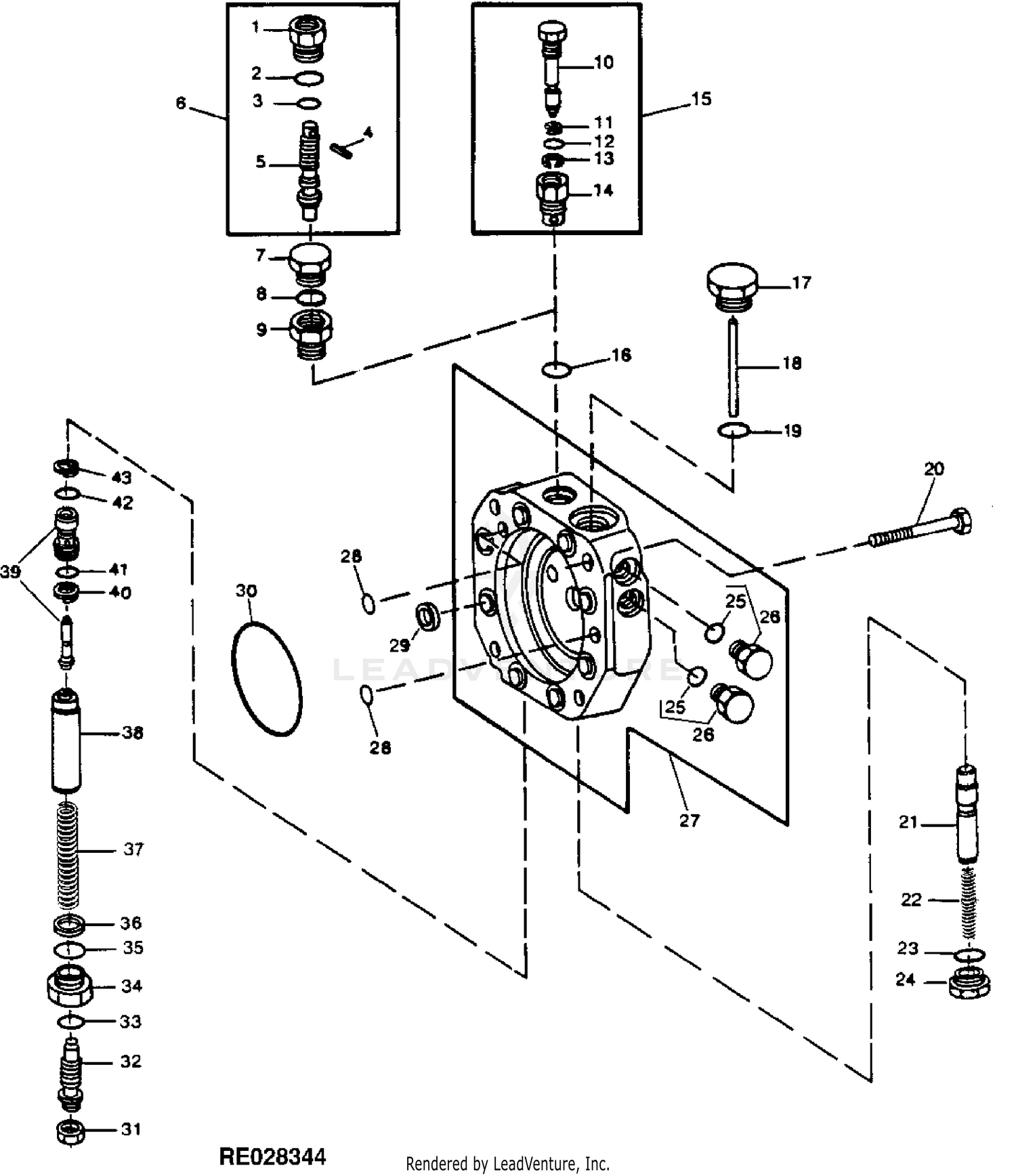
John Deere 2030 Tractor Equipped With Roll Gard Canopy Pc1289 Manufactured 1972 1975 2030 Tractor Equipped With Roll Gard Canopy Pc1289 Hydraulic Pump Stroke Control Valve Hydraulics
John Deere 2030 Tractor Parts Manual
Oil Lines For Selective Control Valves Front 03e05 Tractor John Deere 2030 Tractor 1830 2030 2130 Tractors 70 Hydraulic System Oil Lines For Selective Control Valves Front 03e05 777parts
John Deere 2030 Tractor Equipped With Roll Gard Canopy Pc1289 Manufactured 1972 1975 2030 Tractor Equipped With Roll Gard Canopy Pc1289 Hydraulic Pump Hydraulics
2030 Hydraulic Problems Green Tractor Talk
John Deere 2030 Tractor Pc1289 Hydraulic Pump Oil Inlet Lines Hydraulics
John Deere 2030 Tractor Parts Manual
John Deere 2030 Hydraulic Chatters Tractorbynet

John Deere Tm1944 2030 Progator Utility Vehicle Service Manual Manualexpert
Hydraulic Pump 23 Cm3 1 38 In 3 03b07 Tractor John Deere 2030 Tractor 2030 Tractor 70 Hydraulics Hydraulic Pump 23 Cm3 1 38 In 3 03b07 777parts
Need A Couple Things Identified On Our 2030 John Deere My Tractor Forum
2030 Hydraulic Problems Green Tractor Talk
Hydraulic Oil Reservoir And Associated Parts 03c08 Tractor John Deere 2030 Tractor 2030 Tractor 70 Hydraulics Hydraulic Oil Reservoir And Associated Parts 03c08 777parts

John Deere Progator 2030 Utility Vehicle Tm1944 Pdf Manual
1972 Jd 2030 Hydraulic Help Green Tractor Talk

John Deere 2030 Utility Tractor Repair Service Manual
Hydraulic Oil Lines 03b17 Tractor John Deere 2030 Tractor 1830 2030 2130 Tractors 70 Hydraulic System Hydraulic Oil Lines 03b17 777parts

John Deere 2030 Utility Tractor Repair Service Manual
John Deere 2030 Tractor Pc1289 Hydraulic Oil Reservoir Associated Parts Hydraulics